
Электрические цепи синусоидального тока
82
б) построить векторную диаграмму токов и топографическую
диаграмму напряжений;
в) составить баланс активных и реактивных мощностей;
г) построить на одном графике кривые мгновенных значений
e
i
i
3
;
д) определить показания ваттметра.
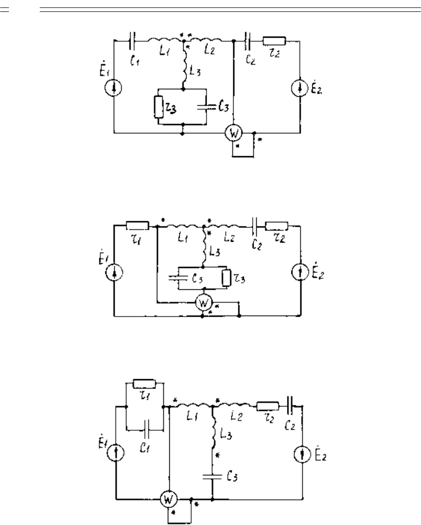
2.5.2 Учитывая взаимную индуктивность катушек и считая задан-
ным ток в первой ветви i
1
, а ЭДС E1 неизвестной:
а) определить неизвестные токи и ЭДС;
б) построить векторную диаграмму токов и топографическую
диаграмму напряжений.
Указания:
а) номер схемы соответствует номеру варианта;
б) при учете взаимной индуктивности в качестве заданного
тока в первой ветви следует принять ток, существовавший
в этой же ветви при отсутствии индуктивной связи;
в) на топографичческих диаграммах должны быть показаны
векторы напряжений на всех элементах схемы;
г) числовые данные параметров схем приведены в таблице
2.1 и выбираются в соответствии с вариантом.