
а дырки - в область р-типа. Это приводит к возникновению тока,
генерируемого падающим светом. Такая миграция электронов и дырок в
области их предпочтения называется фотогальваническим эффектом.
Генерируемый ток, обычно определяемый как ток короткого
замыкания, линейно зависит от света, излучаемого на активную область.
Этот ток может изменяться в достаточно широком диапазоне, по крайней
мере на 7 порядков. Амплитуда такого тока обозначается как I
sc
. Он мало
меняется под действием температуры - меньше 0,2% на градус Цельсия для
видимого света.
Определение полярности напряжения двух выводов фотодиода: анода и
катода основана на том, что существует малое прямое сопротивление (при
положительном аноде) и большое обратное сопротивление (при отрицатель-
ном аноде). Как правило кремниевый диод имеет отрицательное смещение на
активной области, которая является анодом, или положительное смещение на
обратной стороне диода, которая является катодом. В условиях нулевого
смещения и при фотогальваническом режиме работы генерируемый ток или
напряжение соответствуют прямому включению диода. Следовательно,
генерируемая полярность противоположна той, что требуется в режиме
смещения.
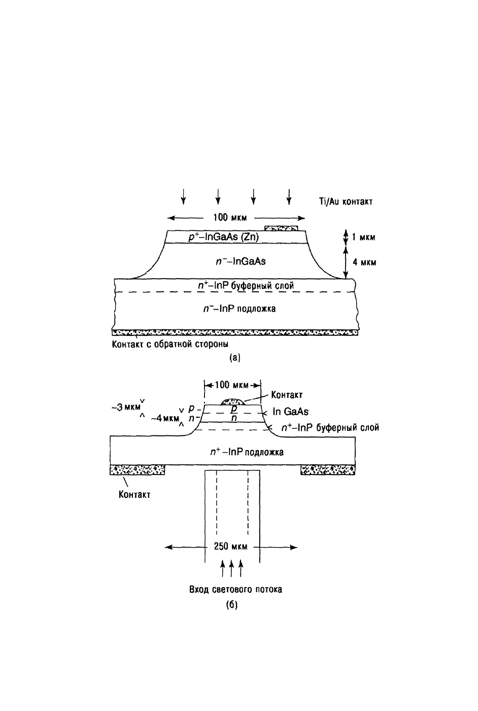
5.4.2. Обзор фотодиодных детекторов на основе InGaAs
На рис. 5.4 приведена обобщенная схема PIN-фотодиода на основе
InGaAs. Этот тип диодов используется как фотодетектор для больших длин
волн (в диапазонах 1310 и 1550 нм).
Из рис. 5.4 видно, что слои состоят из материала InP для р-слоя, материала
InGaAs для i-слоя и материала InP для n-слоя. Так как ширина запрещенной
зоны для InP равна 1,35 эВ, InP прозрачен для света с длиной волны больше
0,92 мкм. В отличие от этого, ширина запрещенной зоны для i-слоя,
состоящего из материала InGaAs, равна 0,75 эВ. Эта величина соответствует
длине волны отсечки 1650 нм. Следовательно, средний слой из материала