
Where the natural frequency of the composite system is nearly equal to the tuned
frequency of the absorber, the amplitude of motion of the primary mass at reso-
nance is much smaller than that of the absorber. Consequently, the motion of the
primary mass does not become large even at resonance; but the motion of the
absorber, unless limited by damping, may become so large that failure occurs.
The use of the dynamic absorber is not restricted to single degree-of-freedom sys-
tems or to locations in simple systems where the exciting forces act. However,
dynamic absorbers are most effective if
located where the excitation force acts.
For example, consider a dynamic ab-
sorber that is attached to the spring in
the simple system shown in Fig. 6.11.
When the absorber is tuned so that
k
a
/
m
a
=ω, the equivalent mass is infi-
nite at its point of attachment and en-
forces a node at point A. If the stiffness
of the spring between A and the mass m
is k
1
, then the force F′ exerted by the
absorber to enforce the node is equal to
that exerted by a system composed of
the mass m and the spring k
1
attached to
a fixed foundation at A and acted upon
by the force Fe
jωt
. The force F′ is
F′=
Thus the amplitude of motion of the auxiliary mass is
u
0
=× (6.13)
The amplitude of motion of the primary mass is
x =
1 −
−1
(6.14)
Hence, an absorber attached to the spring is not as effective as one attached to the
body where the force is acting. It is possible for the primary system to come into res-
onance about the new node at A.
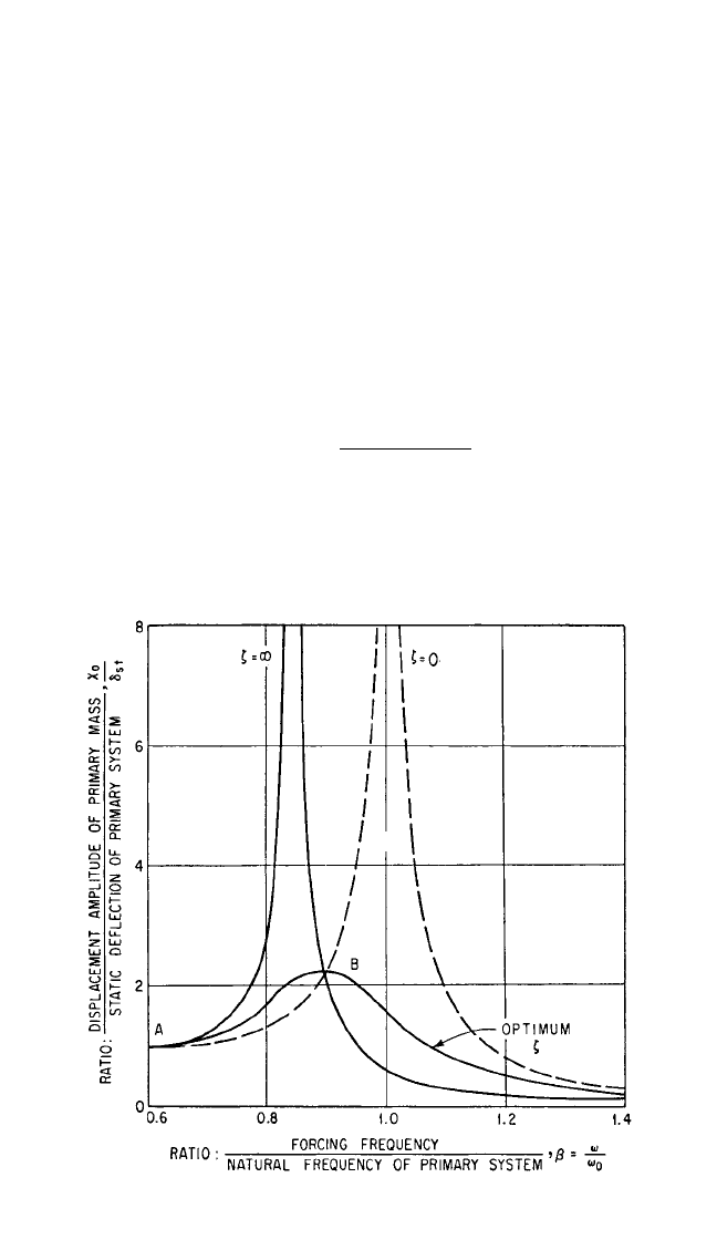
AUXILIARY MASS DAMPERS
In general, the dynamic absorber is effective only for a system that is subjected to a
constant frequency excitation. In the special case of a pendulum absorber (discussed
later in this chapter), it is effective for an excitation that is a constant multiple of a
rotating shaft speed. When excited at frequencies other than the frequency to which
it is tuned, the absorber acts as an attached mass of positive value at frequencies
below the tuned frequency and of negative value at frequencies above the tuned fre-
quency. It introduces an additional degree-of-freedom and an additional natural fre-
quency into the primary system.
mω
2
k
1
F
k
1
1
m
a
ω
2
F
1 − (mω
2
/k
1
)
F
1 − (mω
2
/k
1
)
DYNAMIC VIBRATION ABSORBERS AND AUXILIARY MASS DAMPERS 6.9
FIGURE 6.11 Dynamic absorber attached to
the spring of the primary system. The analysis
shows that this is not as effective as if it were
attached to the rigid body on which the force acts.
8434_Harris_06_b.qxd 09/20/2001 11:26 AM Page 6.9