
РСМ-100.07.04.300
Площадка
Area
Рисунок
Picture
86
Поз.
Ref.
Обозначение
Designation
Наименование Description
Кол.
Quant.
Примечание
Annotation
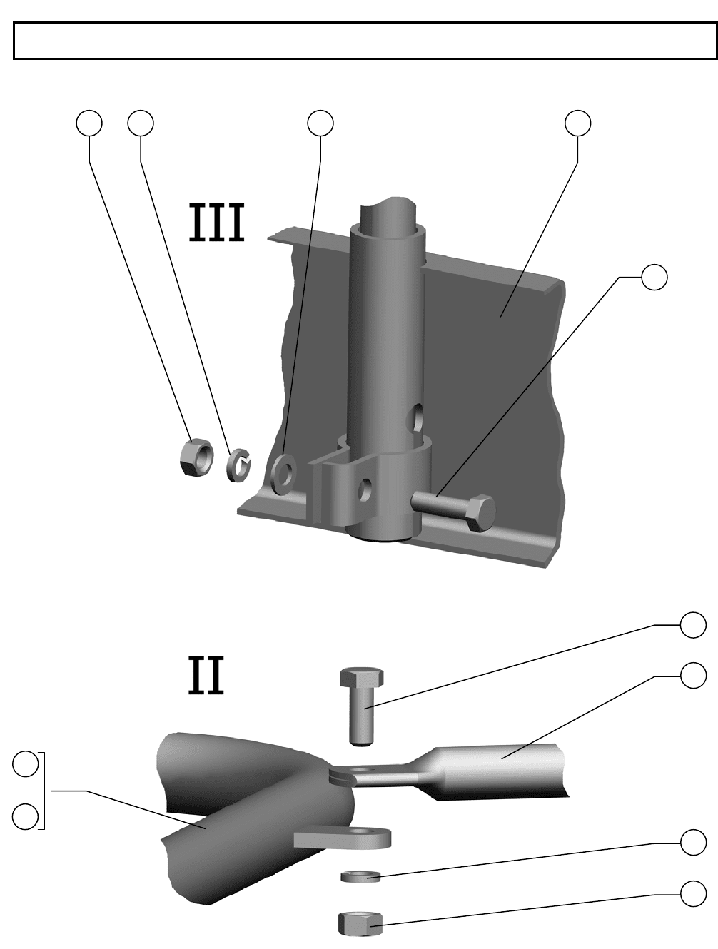
1.
Шайба С.10.01.019
ГОСТ 11371-78
Washer С.10.01.019
ГОСТ 11371-78
4
2.
Шайба 10Т 65Г 019
ГОСТ 6402-70
Washer 10Т 65Г 019
ГОСТ 6402-70
8
3.
Болт М10-6gx16.88.35.019
ГОСТ 7798-70
Bolt М10-6gx16.88.35.019
ГОСТ 7798-70
8
4. РСМ-100.21.35.180Б Гидрораспределитель Сhangeover valve 1
5. РСМ-100.21.31.615А Угольник поворотный Square rotary 5
6.
Кольцо 016-020-25-2-6
ГОСТ 9833-73/
ГОСТ 18829-73
Ring 016-020-25-2-6
ГОСТ 9833-73/
ГОСТ 18829-73
6
7. 54-60947 Болт Bolt 1
8. 54-60505 Болт Bolt 4
9. РСМ-100.21.35.210 Гидрораспределитель Сhangeover valve 1
10.
Болт М8-6gx40.88.35.019
ГОСТ 7798-70
Bolt М8-6gx40.88.35.019
ГОСТ 7798-70
4
11.
Шайба 8Т 65
Г 019
ГОСТ 6402-70
Washer 8Т 65Г 019
ГОСТ 6402-70
10
12. РСМ-100.21.35.260А Трубопровод Pipe duct 1
13. РСМ-10Б.09.69.622В-02 Штуцер ввертной Union threaded 2
14. РСМ-10Б.09.69.622В-04 Штуцер ввертной Union threaded 1
15.
Гидрораспределитель
3РЭ50-03 У1
ТУ 2.5748393.09-93
Сhangeover valve
3РЭ50-03 У1
ТУ 2.5748393.09-93
1
Доп. замена на
Гидрораспределитель
3РЭГ50-03У1
ТУ 4144-008-07502710-
2001
16. РСМ-100.21.45.010 Гидрораспределитель Сhangeover valve 1
17.
Гайка М8-6H.6.019
ГОСТ 5915-70
Nut М8-6H.6.019
ГОСТ 5915-70
4
18. РСМ-100.21.45.402 Кронштейн Bracket 1
19. РСМ-100.21.45.020 Гидрораспределитель Сhangeover valve 1
20. РСМ-10Б.09.69.621Б Штуцер ввертной Union threaded 2
21. РСМ-10Б.09.69.622В-01 Штуцер ввертной Union threaded 1
22. 54-60506 Болт Bolt 1
23. РСМ-10Б.09.35.020 Угольник поворотный Square rotary 1
24. РСМ-100.21.45.030 Трубопровод Pipe duct 1
25. 54-60948 Заглушка Cap 1
26.
Гидрораспределитель
4РЭГ50-47У1
ТУ 4144-008-07502710-01
Сhangeover valve
4РЭГ50-47У1
ТУ 4144-008-07502710-01
1
Доп. замена на
Гидрораспределитель
4РЭ50-31Б У1
ТУ 2.5748393.09-93
27. РСМ-100.21.45.040 Трубопровод Pipe duct 1
28.
Болт М8-6gx45.88.35.019
ГОСТ 7798-70
Bolt М8-6gx45.88.35.019
ГОСТ 7798-70
2
29. РСМ-100.21.45.401 Кронштейн Bracket 1
30.
Болт М8-6gx20.88.35.019
ГОСТ 7798-70
Bolt М8-6gx20.88.35.019
ГОСТ 7798-70
4
Агрегат измельчающий Crushing aggregate
177
РСМ-100 К
С