Файлы
Обратная связь
Для правообладателей
Найти
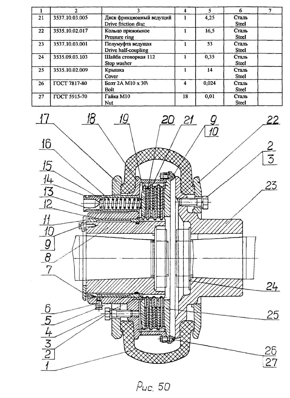
ОМЗ Горное оборудование и технологии Каталог запасных частей к карьерным экскаваторам ЭКГ-8, ЭКГ-12, ЭКГ-15
Файлы
Академическая и специальная литература
Геологические науки и горное дело
Горные машины и оборудование
Карьерные экскаваторы
Назад
Скачать
Подождите немного. Документ загружается.
‹
1
2
...
9
10
11
12
13
14
15
...
22
23
›