17. Как отрегулировать степень заполнения камеры питателя-смесителя и
какова нормальная степень ее заполнения?
18. Где скапливаются угары в питателе-смесителе?
19. Сколько питателей-смесителей включают в разрыхлительно-трепальный
агрегат при обработке xлопкового волокна разных сортов и длины?
20. Какова производительность
разрыхл ительно-трепального агрегата ?
21. Каково назначение угарного питателя?
22. Чем отличается угарный питатель от питателя-смесителя?
23. Как можно изменить производительность угарного питателя?
2. АНАЛИЗ ТЕХНОЛОГИЧЕСКИХ СХЕМ
РАЗРЫХЛИТЕЛЬНЫХ МАШИН ВТОРОГО ТИПА
Цель лабораторной работы
Изучить устройство и работу машин с колковыми барабанами и оборудование
для перемещения волокон между машинами агрегата.
Задание
1. Начертить технологические схемы наклонного очистителя ОН-6-4 и
осевого чистителя ЧО, указать на ней направление движения продукта, воздуха и
места выделения угаров.
2. Замерить скорости основных рабочих органов машин ОН-6-4 и ЧО.
3. Измерить разводки между колосниками машин OH-6-4 и ЧО.
4. Начертить технологическую схему горизонтального разрыхлите-ля, указать
на ней направление движения продукта, воздуха и места выделения угаров.
5. Начертить схему механизма регулирования разводок между колосниками
горизонтального разрыхлителя.
Основные сведения
К разрыхлительным машинам второго типа относятся наклонные очистители
ОН-6-4, ОН-6-4М, горизонтальный разрыхлитель РГ-1, осевой чиститель ЧО.
Применение колковых барабанов в наклонном и осевом чистителях позволяет
обрабатывать волокна в свободном состоянии. При свободном движении волокна и
его ворошении эффективно выделяются сорные примеси через колосниковую
решетку.
Методические указания
Наклонные очистители. Используются наклонные очистители марок: ОН-6-1,
ОН-6-2, ОН-6-3, ОН-6-4, ОН-6-4М и др. Они отличаются друг от друга наличием
или отсутствием приемного бункера с конденсером, числом барабанов, а также их
конструкцией (колковые или ножевые), площадью колосниковой решетки.
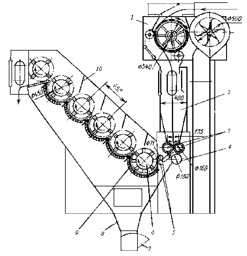
Предварительно разрыхленное волокно из предыдущей машины подается
конденсером 1 (рис.11) в бункер 2, а из него двумя выпускными 3
,
поддерживающим 4 и двумя питающими 5 цилиндрами передается к ножевому
барабану 6.
Этот барабан воздействует на бородку слоя волокон, находящегося в
зажиме цилиндров 5
. Первый (нижний) барабан, отделяя своими ножами от бородки
клочки, отбрасывает их на колосниковую решетку 9 и далее подводит их к