
99
K
ОМПОЗИТ
АТАЛОГ
НЕФТЕГАЗОВОГО ОБОРУДОВАНИЯ
И УСЛУГ – 2 ВЫПУСК
2007
«Салаватнефтемаш», ОАО
Компенсатор линзовый, осевой, типа «КЛО» (ТУ
3683-016-00220302-98) предназначен для компен-
сации температурных и механических перемещений
трубопроводов диаметром от Dу100 мм до Dу3000
мм, работающих со средами разной агрессивности
при температуре стенки не ниже –70 °С до +525°С,
давление от 0,1 МПа до 1,6 МПа, применяемых в хи-
мической нефтехимической, нефтеперерабатываю-
щей и др., отраслях промышленности (рис. 8).
Рис. 8
Рис. 9
Компенсаторы сильфонные (ТУ 3683-037-
00220302-01) предназначены для компенсации тем-
пературных и механических перемещений трубопро-
водов диаметром Dу 500…1600 мм, работающих со
средами разной агрессивности при температурах
стенки не ниже –70 до +525°С, давлением 0,1…1,6
МПа, применяемых в химической, нефтехимической,
нефтеперерабатывающей и других отраслях промыш-
ленности (рис. 9).
Устройства камер запуска и приема в блочно-
комплектном исполнении предназначены для за-
пуска в газопровод (нефтепровод) и приема из него
скребков, разделителей, дефектоскопов и других по-
точных устройств. Условный диаметр: 200…1400 мм,
давление: 8,0; 10,0 МПа. Температура внешней сре-
ды: от -60 до +40°С, температура рабочей среды: от
-60 до +80°С (рис. 10).
Отстойники горизонтальные нефти с перегород-
ками (ТУ 3615-006-00220322-2000) предназначены
для обезвоживания нефти с сепарацией оставшегося
в нефтяной эмульсии газа, используемые при подго-
товке нефти и воды на нефтепромыслах и нефтепере-
рабатывающих предприятиях. Объем: 25, 50, 100, 200
м
3
. Давление условное: 1,0; 1,6; 2,5 МПа. Температу-
ра: от -60 до +100°С (рис.11).
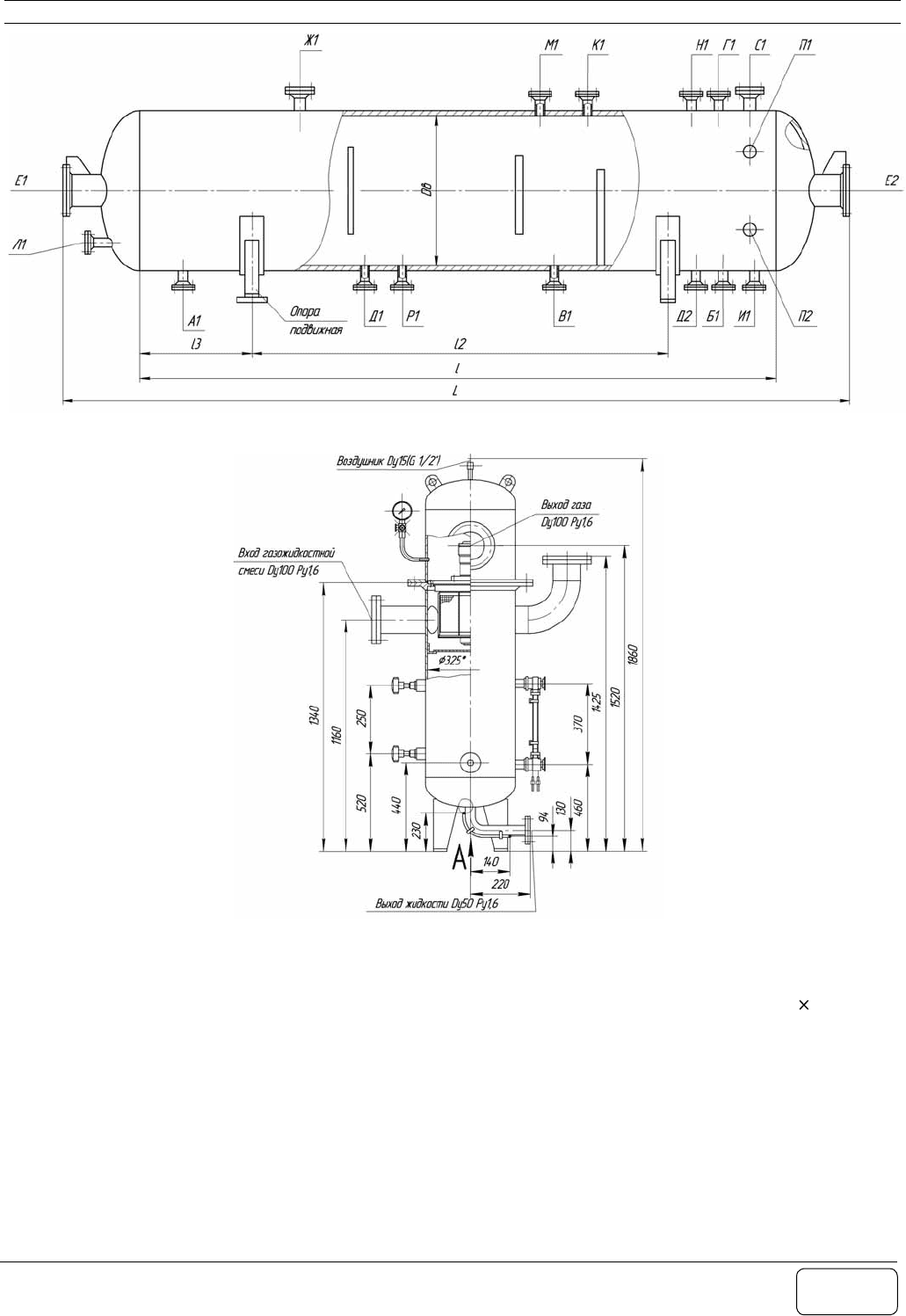
Роторные сепараторы–каплеуловители РСКУ
(ТУ 3667-010-00220339-99) предназначены для сепа-
рации газа от капельной жидкости на объектах про-
мысловой подготовки нефти, газа и воды нефтяных
и газовых месторождений, химической, нефтехими-
ческой и нефтеперерабатывающей промышленно-
сти. Среда – попутный нефтяной газ с содержанием
сероводорода не более 0,2% массовых долей. Рабо-
чее давление – 1,4 МПа. Производительность по газу
РСКУ 1,4-300 – 200 тыс. м
3
/сут, РСКУ 1,4-500 –500 тыс.
м
3
/сут, РСКУ 1,4-700 – 1000 тыс. м
3
/сут. (рис. 12).
Сепараторы нефтегазовые (ТУ 3683-015-
00220322-99) предназначены для дегазации непени-
стой нефти и очистки попутного газа, применяемые в
установках сбора и подготовки продукции нефтяных
месторождений. Сепараторы изготавливаются сле-
дующих типов: Тип I – применяются в компоновке
Рис. 10