
Регулировка упора рулевого управления
(TJ275/325)
При необходимости (в зависимости от размера
шин и оборудования) с трактором поставляются
упоры рулевого управления.
Всегда регулируйте и осуществляйте генерацию
колебаний трактора при полном повороте, когда
установлены двойные или тройные колеса или
после изменения расстояния между колесами,
чтобы убедиться, что передние и задние колеса
не соприкасаются друг с другом. Упор рулевого
управления используется по необходимости,
чтобы предотвратить соприкосновение шин.
Если Вам необходимо отрегулировать упор ру-
левого управления, установите зажим на упоры
по краям тяги каждого цилиндра управления.
Регулировка упора рулевого управления
(TJ375/425/450/500)
На тракторах модели TJ375/425/450/500 упоры
рулевого управления НЕ используются для ог-
раничения угла поворота.
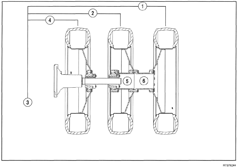
Если при полном повороте Вы заметили сопри-
косновение колес, необходимо передвинуть
опорные пальцы по краям тяги цилиндра управ-
ления из внутреннего отверстия (1) во внешнее
отверстие (2), чтобы ограничить угол поворота.
Для проведения этой процедуры обратитесь к
своему Поставщику.
ПРИМЕЧАНИЕ: При переустановке цилиндров
управления во внешнее отверстие необходимо
использовать два блокирующих блока 403823А1.
ВНИМАНИЕ: Чтобы избежать травм,
НЕ переставляйте опорные пальцы и
не работайте в центральной области
трактора, когда работает двигатель.
161