
4
СПГ
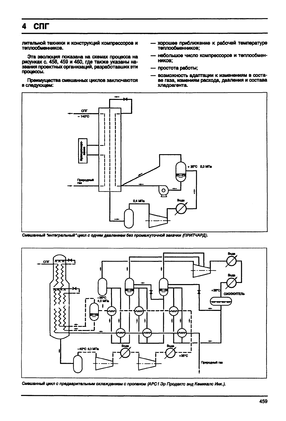
4.5.2.5.
Очистка и фракционирование
В общем
случав
в установке сжижения блок
фракционирования предусмотрен для:
— очистки природного газа перед сжижением;
— производства
флюидов
холодильных
циклов;
— по коммерческим соображениям (продажа про-
изводимых на газофракционирующеи установ-
ке
продуктов);
— энергетических нужд завода.
4.5.2.5.1.
Осушка
Влага, содержащаяся в природном газе при тем-
пературах и
давлениях,
создаваемых в процессе
сжижения,
образовывала бы гидраты с углеводо-
родами и происходило бы образование гидратных
пробок
в дроссельных устройствах, если бы газ не
осушался до уровня примерно I v.p.m. (одна часть
на миллион по объему).
4.5.2.5.2. Очистка от углекислого газа
По тем же причинам диоксид углерода СО
2
об-
разует углеродный лед. СО
2
плохо растворим в уг-
леводородах (слега растворим в бутане), поэтому
необходимо
удалять
СО
2
до уровня v.p.m. (не-
сколько десятков v.p.m., если извлекают пропан-
бутан).
4.5.2.5.3. Извлечение сероводорода
Сероводород и другие кислые газы должны
быть
также удалены.
4.5.2.5.4.
Другие компоненты
Следы
ртути, даже минимальные, опасны для
теплообменников и должны
быть
тщательно
удале-
ны.
Наконец,
тяжелые
углеводороды С^. могут так-
же вызвать образование пробок, поэтому конден-
сат должен
быть
выделен
в процессе охлаждения.
Эти различные темы, касающиеся очистки газа,
освещены в разделе. 2.4. Добыча природного газа.
Что касается насыщенных углеводородов (алка-
ны от С
1
до С
5
), они при необходимости могут
быть
выделены
сепарацией и ректификацией для вос-
полнения циклового газа (компенсация потерь и
продувок).
Как об этом уже говорилось, если ком-
поненты С2-Сг-С
4
-С
5
входят в состав природного
газа
в
значительных
количествах, их
выделяют
для продажи по хорошим ценам.
Все,
что
выделяется
сверх потребностей (напри-
мер,
этан, если продают только пропан и бутан),
или подается в поток сжижаемого газа или исполь-
зуется на мес. - ^ля производства энергии.
Кстати,
инертные
газы,
азот и гелий, которые
могут
в небольших количествах находиться в при-
родных газах, их сжижение вместе с метаном стоит
дорого
с точки зрения затрат
энергии;
их транспорт
метановозами стоит дорого из-за занимаемого ими
объема, их присутствие в составе СПГ при
регази-
фикации уменьшает теплотворную способность.
Следовательно,
желательно
их
выделить
перед
сжижением.
Газ сепарации после однократной конденсации
содержит весь гелий и весь или почти весь азот в
смести
с метаном. Этот газ сепарации считают
сбросным,
достаточно бедным газом и используют
преимущественно для производства
энергии,
необ-
ходимой заводу.
Если
гелия достаточно много, можно предусмо-
треть его выделение, производя сепарацию в две
ступени и таким образом,
чтобы
смесь Не + N
2
выделялась
бы в одной ступени сепарации.
Примечание.
Нет норм на состав СПГ. Существуют только
особые спецификации у потребителя сырья, кото-
рые, например, на заводах сжижения для экспорта
газа
связаны с контрактами на постановку (в част-
ности,
с теплотворной способностью).
Следовательно, остаточные
газы,
используе-
мые для производства
энергии,
разные по составу
в разных местах.
4.5.3.
Оборудование
установок сжижения
4.5.3.1. Теплообменники
4.5.3.1.1.
Теплообменники с горячим
источником в окружающей среде
Теплообменники - холодильники холодильного
цикла, в которых реализуется теплообмен с
горя-
чим источником в окружающей среде, бывают раз-
личного типа соответственно с природой этого ис-
точника - водой или воздухом:
— если используется вода, это теплообменники
классического типа с трубным пучком (вода
циркулирует по трубкам пучка);
— если используется воздух, это батареи воздуш-
ных холодильников (АВО).
Использование морской воды в качестве горяче-
го
источника широко распространено на располо-
женных на берегу моря заводах сжижения газа на
экспорт.
Особые меры защиты должны
быть
приня-
ты для теплообменников против коррозии или мор-
ских
отложений (специальные покрытия, катодная
защита, хлорирование морской воды и т.д.), также
как
и для устройств водозабора
4.5.3.1.2.
Криогенные теплообменники
Эти аппараты, в которых совершается теплооб-
мен между сжижаемым природным газом и (или)
хладоагентами, изготавливаются из криогенных
металлов, в основном из алюминия и его сплавов
(см.
§4.3.1.2.1).
С
целью
обеспечения значительной экономии
для заводов сжижения газа на экспорт и упроще-
ния обвязки
были
разработаны специальные боль-
шие теплообменники многоходовые с большой по-
верхностью теплообмена, которые делятся на два
вида: "теплообменники с навитыми трубками и
"пластинчатые теплообменники". Конструкции
обоих типов требуют умения в изготовлении и
особых материалов.
4.5.3.1.2.1.
"Навитые
теплообменники"
Они являются разновидностью кожухотрубча-
тых теплообменников. Аппарат вертикального ти-
па,
несколько
тысяч
тонких трубок (6 -10 мм диа-
метром) навиты геликоидально по перекрестной
сетке.
Можно сконструировать теплообменник для
нескольких флюидов, чередующихся по трубкам
различных пучков в одной сетке. Перекрестные
сетки
дают эффект отражающихся перегородок
461