87 
 
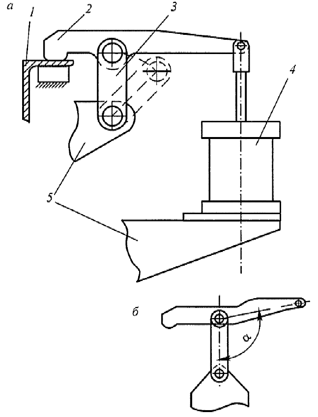
установочного платика в положение, изображенное штриховой линией. Сле-
довательно, для свободной закладки в стенд продольной балки элементы ры-
чажной  системы  прижима  должны  быть  выведены  за  пределы  плоскости 
стенки профиля, находящегося в исходном положении. Если в конструкции 
прижима  использовать  традиционный  качающийся  рычаг,  соединенный  со 
штоком пневмоцилиндра, то из-за большого углового перемещения рычага 
потребуется применить пневмоцилиндр с большим ходом поршня. 
В  схеме  прижима,  приведенной  на  рис.  4.24  использован  пневмоци-
линдр с минимальным ходом поршня. После отвода штока пневмоцилиндра 
с нажимной пятой в нерабочее положение рычаг вручную поворачивают от-
носительно  вертикальной  оси  в  поворотной  колонке  и  располагают  вдоль 
профиля боковой балки узла. 
Отметим,  что  в  рассмотренной  схеме  прижима  необходимо  предус-
мотреть стопорящее устройство, фиксирующее рычаг как в рабочем, так и в 
нерабочем (повернутом) положениях. 
 
4.6.8. Клавишные зажимные устройства с приводом 
от пневмошланга 
 
Зажимные  устройства  с  приводом  от  пневмошлангов  (рис.  4.25)  целе-
сообразно применять в стендах для сборки под сварку листовых конструк-
ций (полотнищ обшивки боковых стен и крыш вагонов, обечаек котлов цис-
терн и  др.). В  этих  стендах прижимное  устройство  должно  обеспечить  за-
крепление  кромок  свариваемых  листов  в  большом  количестве  близко  рас-
положенных точек на всей длине сварного шва. 
На  рис.  4.25,  а  и  б  представлена  упрощенная  конструкция  клавишного 
зажимного  устройства,  отличающаяся  тем,  что  в  ней  в  качестве  силовых 
элементов  применены  длинные  прорезиненные  шланги,  заполняемые  сжа-
тым воздухом. Основной шланг 2  создает рабочее давление на клавиши 7. 
Вспомогательный шланг 5 служит для возврата клавишей в исходное, нера-
бочее положение. 
В  зажимном  устройстве,  показанном  на  рис.  4.25,  в,  вспомогательный 
шланг заменен на ряд возвратных пружин 12. При одинаковых размерах ос-
новного шланга приспособление с возвратными пружинами обеспечит зна-
чительно меньшее усилие закрепления листов, так как часть энергии сжато-
го воздуха будет расходоваться на сжатие возвратных пружин. 
Следует  отметить,  что  выше  рассмотрена  незначительная  часть  наи- 
более  распространенных  кинематических  схем  пневматических  прижи- 
мов.  В  конкретных  конструкциях  сборочных  стендов  могут  быть  приме-