
338
 ñîñòàâ ìåìáðàíû ëèïîñîì, êðîìå ëèïèäîâ, ìîãóò áûòü âêëþ-
÷åíû áåëêè, à òàêæå íåáîëüøèå ôðàãìåíòû ïðèðîäíûõ ìåáðàí.
Ëèïîñîìû, ñîäåðæàùèå áåëêè, íàçûâàþòñÿ ïðîòåîëèïîñîìàìè. Îíè
øèðîêî ïðèìåíÿþòñÿ äëÿ èññëåäîâàíèÿ ìåìáðàí. Ëèïîñîìû ïî-
çâîëÿþò, èçìåíÿÿ ëèïèäíûé è áåëêîâûé ñîñòàâ, ñìîäåëèðîâàòü
öèòîïëàçìàòè÷åñêèå ìåìáðàíû ìèòîõîíäðèé, ìåìáðàíû ýíäîïëàç-
ìàòè÷åñêîãî ðåòèêóëóìà è äðóãèõ îðãàíåëë êëåòêè. Ñ ïîìîùüþ
ëèïîñîì ìîæíî îïðåäåëèòü ïðîíèöàåìîñòü ìåìáðàíû äëÿ òîãî èëè
èíîãî ëåêàðñòâåííîãî ïðåïàðàòà. Äëÿ ýòîãî ëèïîñîìû ïîëó÷àþò
â ðàñòâîðå, ñîäåðæàùåì èçó÷àåìûé ïðåïàðàò. ×àñòü ïðåïàðàòà îêà-
çûâàåòñÿ âíóòðè ëèïîñîì, ïîñëå ýòîãî îñòàâøóþñÿ ÷àñòü âûâîäÿò
èç îêðóæàþùåãî ðàñòâîðà è ïî êîëè÷åñòâó ïðåïàðàòà, ïðîñà÷èâàå-
ìîãî èç ëèïîñîì â ðàñòâîð çà îïðåäåëåííîå âðåìÿ, îïðåäåëÿþò
ñêîðîñòü åãî âûõîäà.
Ëèïîñîìû ìîæíî èñïîëüçîâàòü íå òîëüêî â íàó÷íûõ èññëåäî-
âàíèÿõ, íî è íà ïðàêòèêå. Ïðè ââåäåíèè âíóòðü ëèïîñîìû ëåêàð-
ñòâåííîãî ïðåïàðàòà îáëåã÷àåòñÿ åãî äîñòàâêà è ïðîíèêíîâåíèå
â òêàíè èëè îðãàíû. Ñîñòàâ ëèïîñîìàëüíûõ ëèïèäîâ ìîæíî ïîäî-
áðàòü òàêèì îáðàçîì, ÷òî òàêàÿ îáîëî÷êà áóäåò ñîâåðøåííî íå òîê-
ñè÷íà.  êîñìåòîëîãèè, íàïðèìåð, â ñîñòàâ êðåìîâ âêëþ÷àþò
ëèïîñîìû, ñîäåðæàùèå áèîëîãè÷åñêè àêòèâíûå âåùåñòâà. Ðàññìàò-
ðèâàåòñÿ âîçìîæíîñòü ââåäåíèÿ èíñóëèíà ñ ïîìîùüþ ëèïîñîì.
Áèëèïèäíàÿ îáîëî÷êà çàùèòèò áåëêîâóþ ìîëåêóëó èíñóëèíà îò
äåéñòâèÿ ôåðìåíòîâ ïèùåâàðèòåëüíîãî òðàêòà. Ýòî ïîçâîëèò ââî-
äèòü èíñóëèí ïåðîðàëüíî, à íå ñ ïîìîùüþ èíúåêöèé.
Èíîãäà òðåáóåòñÿ äîñòàâèòü ïðåïàðàò èìåííî â äàííûé îðãàí
èëè îïðåäåëåííûé ó÷àñòîê îðãàíà. Èçâåñòíî, ÷òî êàæäûé êëàññ
êëåòîê îðãàíèçìà èìååò íà ñâîåé ìåìáðàíå ñðåäè ìíîæåñòâà áåë-
êîâ îòëè÷èòåëüíûå áåëêè (àíòèãåíû), ñâîéñòâåííûå òîëüêî ýòèì
êëåòêàì. Ê êàæäîìó àíòèãåíó ñóùåñòâóåò êîìïëåìåíòàðíàÿ ìîëå-
êóëà (àíòèòåëî), ñïîñîáíàÿ âçàèìîäåéñòâîâàòü òîëüêî ñî «ñâîèì»
àíòèãåíîì. Åñëè òàêîå àíòèòåëî âêëþ÷èòü â áèëèïèäíóþ îáîëî÷êó
ëèïîñîìû, òî, ñëó÷àéíî îêàçàâøèñü (ñ òîêîì êðîâè) âîçëå íóæíî-
ãî àíòèãåíà, ê êëåòêå ïðèêðåïèòñÿ àíòèòåëî, à ñ íèì — è ëèïîñî-
ìà ñ ëåêàðñòâîì. Îäíàêî ïîäîáíûå ìåòîäû òåðàïèè åùå òîëüêî
ðàçðàáàòûâàþòñÿ.
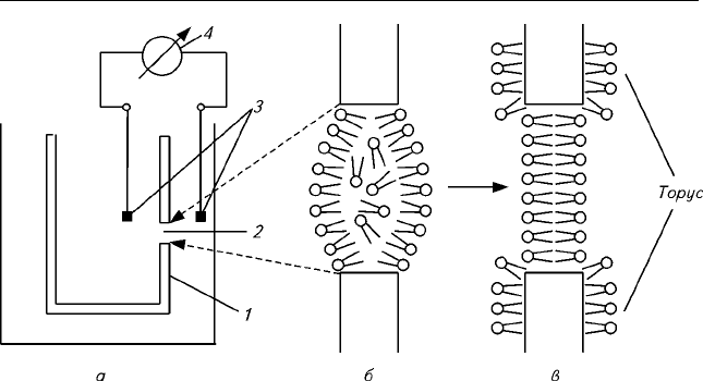
Ïëîñêèå áèñëîéíûå ëèïèäíûå ìåìáðàíû (ÁËÌ) ìîæíî ïîëó-
÷èòü, åñëè íà íåáîëüøîå îòâåðñòèå äèàìåòðîì îêîëî 1 ìì â òîí-
êîé ôòîðîïëàñòîâîé ïëàñòèíå, ïîìåùåííîé â âîäó, íàíåñòè êàï-
ëþ óãëåâîäîðîäíîãî (íàïðèìåð ãåïòàíîâîãî) ðàñòâîðà ëèïèäà.
Ðàñòâîðèòåëü äèôôóíäèðóåò â ðàñòâîð, îáðàçóåòñÿ òîëñòàÿ ëèïèä-
íàÿ ïëåíêà, êîòîðàÿ ñàìîïðîèçâîëüíî óòîí÷àåòñÿ â òå÷åíèå 5—
20 ìèí äî òåõ ïîð, ïîêà íå ïîëó÷èòñÿ áèëèïèäíàÿ ìåìáðàíà òîë-
ùèíîé 5—7 íì (ðèñ. 10.2.2). Óòîí÷åíèþ ïëåíêè ñïîñîáñòâóþò ñèëû
ïîâåðõíîñòíîãî íàòÿæåíèÿ è ñèëû Âàí-äåð-Âààëüñà, ïðèòÿãèâàþ-
Ãëàâà 10. Ñòðîåíèå è ñâîéñòâà áèîëîãè÷åñêèõ ìåìáðàí